Multichannel temperature meters IT-6 are designed to measure temperature using thermoelectric converters with НСХ in accordance with GOST R 8.585 and resistance thermocouples connected to 96, 80, 64, 48, 32 or 16 channels, depending on the version.


  • SKU: EL008938
  • Price: 


More Details


Области применения:

Измерители температуры и теплопроводности многоканальные ИТ-6 могут использоваться в качестве устройства автоматизированного сбора и обработки информации различных телеметрических систем. ИТ-6 в комплекте с преобразователями плотности теплового потока и преобразователями термоэлектрическими применяются в составе системы измерения термического сопротивления ограждающих конструкций зданий и сооружений.

Особенности:

  • Результаты измерения в мВ, Вт/м2 или °C выводятся в виде таблицы и графиков. 
  • Измерение температуры холодных концов термопар.
  • Отображение результатов измерения на экране монитора персонального компьютера.
  • Приборы могут работать в режиме непрерывного измерения, когда после очередного цикла измерения следует следующий цикл, или производить заданное количество циклов измерения.
  • Возможность производить измерения с программируемой задержкой между циклами измерений от 20 секунд до 60 минут.
  • Измерители температуры ИТ-6 изготавливаются по МКСН.405544.026ТУ.

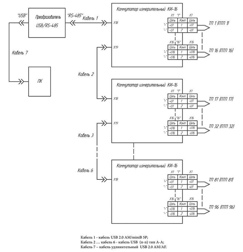
Конструктивно приборы ИТ-6 состоят из преобразователя USB/RS-485 и коммутаторов измерительных КИ-16 (по 1 шт. на каждые 16 каналов).

ИТ-6 соединяются с компьютером по интерфейсу USB. Каждый КИ-16 содержит микроконтроллер, коммутатор, АЦП, датчик температуры холодных концов и преобразователь интерфейса RS-485.

Коммутаторы измерительные КИ-16 измеряют значение напряжения по каждому из каналов, снимают показания датчиков температуры холодных концов термопары и передают через преобразователь USB/RS-485 все эти значения на компьютер.

Компьютер на основе полученных данных определяет значения плотности теплового потока или температуры. Результаты измерения выводятся на экран в виде значений напряжения, плотности теплового потока, температуры, и графиков напряжения, плотности теплового потока, температуры.

Измерение производится циклами. В ходе одного цикла измерений блок КИ-16 производит измерение по всем каналам и передает данные на компьютер.

Функциональные возможности:

  • Выбор интервала времени между циклами измерений (20 с…60 с) с дискретностью 1 с для значений времени до 1 мин и 1 мин для значений времени от 1 до 60 мин.
  • Выбор режима измерений: непрерывное измерение или заданное количество циклов измерений (от 1 до 1000).
  • Выбор опрашиваемых каналов, возможность включения/выключения опроса индивидуально для каждого канала.
  • Вывод в таблицу температуры холодных концов термопар.
  • Возможность вывода в таблицу времени или номера текущего измерения.
  • Вывод измеренных значений в таблицу тремя способами:
  1. Напряжение, мВ.
  2. Плотность теплового потока: q = A0 + A1* Uизм + A2*(Uизм)2 + A3*(Uизм)3 + A4*(Uизм)4, Вт/м2,
    • где А0…А4 - коэффициенты полинома (задаются потребителем), 
    • Uизм - измеренное значение напряжение.
    • Способ вывода в таблицу и значения коэффициентов А0…А4 определяются индивидуально для каждого канала.
  3. Температура, °С.
    • Тип термопары выбранного канала: ТПП 13(R), TПП 10(S), ТПР(В), ТЖК(J), ТМК(Т), ТХКН(Е), ТХА(К), ТНН(N), ТВР(А-1), ТВР(А-2), ТВР(А-2), ТХК(L), ТМК(М).
  • Сохранение данных в файле, который может быть обработан как посредством программы обслуживания, так и любыми стандартными средствами, позволяющими работать с текстовыми файлами. Также предусмотрена обработка средствами Microsoft Excel.
  • Печать данных.
  • Проведение подстройки прибора.

Технические характеристики

Количество измерительных каналов (в зависимости от исполнения прибора)

16, 32, 48, 64, 80, 96

Диапазон измерения напряжения с выходов датчиков

-499,999...+499,999 мВ

Вид индикации

На экране компьютера

Разрешающая способность индикации:

- Напряжения U

0,001 мВ

- Плотности теплового потока q

0,01 Вт/м2

- Температуры t

0,01°С

Основная абсолютная погрешность, мкВ, не более,
где Uизм - значение модуля измеренного напряжения

± (6+ 1,5*10-4*Uизм)

Связь с ЭВМ

USB

Степень защиты от проникновения твердых предметов и воды по ГОСТ 14254-96

IP20

Вид климатического исполнения по ГОСТ 15150-69

УХЛ 4.1

Температура окружающего воздуха

+5…+ 40°С

Питание

Порт USB 5 В

Ток потребления, не более

50 мА

Габаритные размеры прибора, не более:

- Блок КИ-16

135x80x35 мм

- Преобразователь USB/RS-485

70x25x10 мм

Масса, не более:

- Блок КИ-16

0,14 кг

- Преобразователь USB/RS-485

0,04 кг


Схема подключения

На схеме указан случай подключения к ИТ-6 термопарных датчиков. При необходимости, вместо каждого из термопарных датчиков может быть подключен датчик плотности теплового потока или датчик другой физической величины, имеющий выходной сигнал в виде напряжения, не выходящего за границы диапазона измерения ИТ-6.